揭底“西部大开发农业AI智能科技第一股”,禾荣股份关联企业已劣迹斑斑!
发布: 2021-07-19 13:13:38 作者: 佚名 来源: 微商电商调研
近年来,“人无股权不富”的理念早已是深入人心,参与股权投资活动的人群也呈现出了不断扩大的趋势,除了上市企业发行的股票具有普遍的投资价值之外,现如今,越来越多的人开始打起了非上市企业公开发行的“原始股”的主意,有着“西部大开发农业AI智能科技第一股”、“现代AI智能农机制造第一股”、“新疆特色农业科技第一股”之称的禾荣股份在近期也成为了许多投资人的目光所及之处。

那么投资人怎样才能买到禾荣股份的股权?股权回购的前提条件是什么?2024年上市的允诺能否照进现实?禾荣股份的母公司和子公司都分别存在着怎样的问题?
旗下公司,诉讼缠身
上海禾荣农业科技发展股份有限公司成立于2016年5月3日,曾用名为上海禾荣农业科技发展有限公司,法定代表人陈超,股东有陈超(大股东)和山东淄川高新技术创业投资有限公司,注册资本4100万元。据官方资料显示,该公司是一家集农业科研创新,生物技术开发,农产品种植生产、加工、销售渠道建设、管理为一体的农业全产业链平台型企业,主要从事新疆特产干果类食品贸易,主要产品包括骏枣、灰枣、核桃、杏干、无花果、红香妃葡萄干、绿香妃葡萄干、雪菊等。

综上所述,陈超持有该公司80.00%股份,对公司重大经营决策、发展战略有决定性影响,为公司控股股东、实际控制人。关于此人的简历,据《上海禾荣农业科技发展股份有限公司股份转让说明书》显示,陈超,1978年6月出生,中国国籍,无境外永久居留权,毕业于北京,印刷学院应用电子技术专业,本科学历。2000年7月至2006年7月,任北京北方正大电子有限公司北方区渠道总监;2006年8月至2009年3月,任北京易尚时代商贸有限公司经理;2009年4月至2014年8月,任易奇时代(北京)商贸有限公司经理;2014年9月至2016年4月,任古力巴格(北京)食品投资有限公司经理。
据了解,湖北玺瑞自动化输送设备科技有限公司、古力巴格(北京)食品投资有限公司、和田林果网农产品有限公司、赣州中食链科技合伙企业(有限合伙)等多家企业都是禾荣股份旗下的子公司。

在这些子公司当中,近来诉讼缠身的古力巴格(北京)食品投资有限公司无疑最为值得人们关注,陈超本人也是该公司的董事长。据企查查显示,目前围绕着该公司存在的官司有十余宗,且该公司多为被执行人。

(图片来源:企查查)
劳动争议可以说是古力巴格遭受质疑的开端,据《古力巴格(北京)食品投资有限公司与徐某某劳动争议二审民事判决书》显示,一审法院认定事实:徐某某于2015年4月7日到古力巴格公司工作。同日,古力巴格公司与徐某某双方签订了《劳动合同书》,自2016年2月起,古力巴格公司未足额给徐某某发放工资。2017年7月3日,徐某某向古力巴格公司邮寄送达了《解除劳动合同通知》,同一天,徐某某向北京市昌平区劳动人事争议仲裁委员会提起仲裁,请求:1、古力巴格公司支付2016年2月1日至2017年5月31日工资差额18401元;2、古力巴格公司支付2017年6月工资6000元;3、古力巴格公司支付解除劳动关系经济补偿金15000元。

北京市昌平区劳动人事争议仲裁委员会支持原告的诉求,古力巴格公司不服,起诉至一审法院,一审法院基本认同北京市昌平区劳动人事争议仲裁委员会的观点,于是,古力巴格公司又申请二审,但最终,二审法院仍决定驳回古力巴格公司的上诉。
除了劳动争议,还有仓储合同纠纷也同样值得注意,据《北京傅瑞物流有限公司与古力巴格(北京)食品投资有限公司仓储合同纠纷一审民事判决书》显示,原告物流公司提出被告共计拖欠原告仓储费用及服务费62246元拒不支付。原告数次向被告提出交涉、催讨上述拖欠仓储费用,均未果。法院认为:本案中,虽然食品公司主张自2017年12月12日起物流公司即开始留置,但自2018年1月2日至1月17日期间,物流公司仍有出库部分货物,故法院对留置的时间点确定为2017年12月的仓储费支付期限,即2018年1月20日。此时已有部分货物过期,该部分货物的价值法院不予认定,其余部分参照市场价格,酌情予以认定。经计算,该部分货物价值约为77022元。对于食品公司及物流公司对食品过期而产生的损失应承担的责任比例,法院酌定为各承担50%。

最终,法院判决:一、古力巴格公司支付北京傅瑞物流有限公司仓储费62246元;二、北京傅瑞物流有限公司赔偿古力巴格公司损失38511元;三、驳回古力巴格公司的其他反诉请求
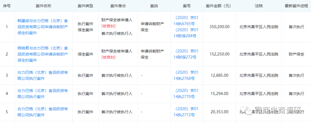
当时间来到2020年6月时,财产保全案件相继发生,据《杨某某与古力巴格(北京)食品投资有限公司申请诉前财产保全民事裁定书》显示,申请人杨某某向法院提出申请诉前财产保全,要求冻结被申请人古力巴格公司银行存款152250元或查封、扣押同等金额的其他财产,法院予以执行。

据《韩某某申请诉前财产保全民事裁定书》显示,申请人韩某某向法院申请诉前财产保全,要求冻结被申请人古力巴格公司名下银行存款350200元或查封、扣押相应价值的其他财产,法院予以执行。

另外值得一提的是,在2018年,该公司还曾因违反了我国《广告法》第四条第一款的规定的行为,而被北京市昌平区市场监督管理局处以罚款4000元的行政处罚。决定书文号:京工商昌处字〔2018〕第1006号。

(图片来源:企查查)
企业股东,被执行人
从某种意义上来说,禾荣股份公司也属于是“上有老下有小”了,“小的”说完了,再看看“老的”。作为禾荣股份公司股东之一的山东淄川高新技术创业投资有限公司,在近些年来也同样是多次担当法庭中的被告。

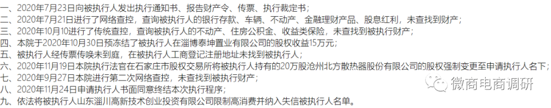
在这些官司当中,我们先以最近发生的《孙某某、山东淄川高新技术创业投资有限公司与公司、证券、保险、票据有关案件执行实施类执行裁定书》为例,据该裁判文书显示,申请人孙某某与被执行人山东淄川高新技术创业投资有限公司与公司有关的纠纷一案,法院作出(2019)冀0927民初1120号民事判决书,已经发生法律效力,申请执行人向法院申请执行。法院向被执行人发出执行通知书,责令被执行人向申请执行人支付139100元及利息,协助变更股权登记变更手续,缴纳执行费1986.5元。被执行人未履行生效法律文书确定的义务。法院在执行过程中,依法采取了强制执行措施如下:

南皮县人民法院最终认为:本院依法穷尽强制执行措施,未查找到可供执行的财产,申请执行人书面同意终结本次执行程序,申请执行人未能提供可供执行的财产线索,本案符合终结本次执行程序的条件。如发现被执行人确有可供执行的财产,申请执行人可以向本院重新申请恢复执行,且不受申请执行期间的限制。
在案情中透露出类似的执行状况的执行裁定书并不只此一例,还有《河北新悦和会计事务所有限公司、山东淄川高新技术创业投资有限公司委托合同纠纷执行实施类执行裁定书》,该裁判文书指出:关于申请执行人河北新悦和会计事务所有限公司与被执行人山东淄川高新技术创业投资有限公司委托合同纠纷一案,石家庄市桥西区人民法院作出的(2018)冀0104民初4664号民事判决书已经发生法律效力,判决内容为:被告应该支付所欠原告的审计服务费88万元及利息。但被执行人至今未履行生效法律文书确定的义务,申请人向法院申请执行,法院现已依法受理,进入执行程序。

在执行中,法院依法向被执行人邮寄送达执行通知书、报告财产令等法律文书,法院经过网络查询和传统查询,冻结、扣划被执行人名下银行账户二个,冻结被执行人持有淄博泰坤置业有限公司40%的股权,未查询到被执行人名下有房产、车辆、住房公积金、证券、金融理财产品、保险等可供执行的财产。申请执行人也未能提供被执行人有其他可供执行的财产或财产线索。本次执行到位金额为264152.35元。综上所述,系本案全部执行过程,法院与申请执行人进行了终本约谈,将执行情况向申请执行人释明,申请执行人也无法提供被执行人名下可供执行的财产,同意法院依法终结本次执行程序。
至今,不但这家公司已沦为失信被执行人,该公司的全部两位股东也都已被法院出示了限制消费令。

(图片来源:企查查)
在本篇报道中,我们了解到了禾荣股份关联企业所存在的种种问题,在下篇报道中,我们将着重关注的是禾荣股份是如何招募股权投资人的,请继续关注微商电商调研。
今日新闻头条
我也说两句
已有评论 0 条 查看全部回复








