“寻草记商城”无法提现遭用户投诉:借上市公司名义搞传销?
发布: 2021-03-05 10:21:31 作者: 佚名 来源: 社交财经融媒体
不久前,社交财经接到消费者王先生投诉一家打着“社交金融电商”名义的“寻草记商城”涉嫌传销与诈骗。
据王先生反映,2019年10月份入职一家名为成都上市吧信息技术股份有限公司,该公司宣传母公司是一家上市公司,即北京九天云竹信息技术股份有限公司。王先生透露道:“刚来时,就知道公司在推广‘寻草记商城’并宣传可以免费买东西,于是在公司诱骗下,我办了张信用卡,尝试公司推出的新型消费模式,如买100元的商品,需要投入128倍的价格才能购买,最短半个月将12800元全部返给你,等同于自己免费拿到了100元的商品。”

打款明细截图(经处理)
“如此可循环利用信用卡充值到寻草记商城,半个月到期即可提现,并且公司规定每个内部员工可以发展下级,亲朋好友在寻草记商城消费,自己就可以拿到一定比例的佣金。此外,公司考核规定每个人每个月都要将自己的工资充值平台进行消费。”王先生说道。

然而,2021年2月1日,寻草记商城出现大量平台用户无法提现,王先生的16万元也无法取出。此外,王先生透露:“公司员工平均每人大概有10多万元在平台无法提现,加上外部群众大约有近600万元。此时已经联系不上公司老板罗明,行政部打款人李良。”
王先生经核查发现,由于今年1月底,公司技术部门多数同事违规操作,进行大量提现,导致资金链断裂。上层领导早已为跑路做好准备,将法人变更等一系列操作。
“公司就剩下我们这些受害者,我们所有的钱包括花呗,信用卡,还有自己辛苦的血汗钱都被罗总卷走,现在没钱还信用卡。”王先生说道。
社交财经注意到,寻草记商城是北京维引力文化传播股份有限公司运营的社交金融电商,于2019年8月正式上线运营,是一家全品类FreeBuy融媒体电商平台,以帮助消费者实现消费自由为目的。

那么如何实现“消费自由”呢?其官方微信公众号“寻草记商城”宣传用户通过FreeBuy的消费方式实现购物自由,主要目的是通过消费全额返现让您实现自由购物,不用担心存款被消耗,生活压力随之会降到最低。


此外,寻草记商城宣传是云竹信息(股票代码837939)旗下互联网平台,实力股东有上海证券、东方财富证券、华金证券、联储证券、华信证券、东莞证券、中盛基金、小微互联投资、火烧云投资等,一定保证每一位用户的资金安全。
但社交财经注意到,寻草记商城公开宣传可以“躺赚”,即花299元购买价值300元购物金成为钻石合伙人,而成为钻石合伙人后,邀请200个好友注册,就可以获得299元奖励,成功发展下级店主或买手,每一位也会获得专属奖励。此外,只要简单地把商城分享给身边的同事,朋友,不光可以领到福利,同时还可以获得下级的消费提成, 并且自己消费FreeBuy商品打95折,下级购买或转让FreeBuy订单,享受手续费提成。

“在寻草记商城买了钻石合伙人,轻轻松松月入过万。”王先生透露道。
据天眼查APP显示,北京维引力文化传播股份有限公司成立于2015年12月4日,实缴资本为500万元,庄胜勇担任法人,北京云竹网络科技有限公司持股75%,罗明持股25%。

值得注意的是,2020年12月3日,该公司法人、董事长由陈金玲变为庄胜勇。2019年5月27日,该公司法定代表人、董事长由罗明变为陈金玲。

此外,该公司于2020年10月13日被列入被执行人,执行标的16518元。2020年11月13日,该公司前法人陈金玲被列入限制消费令。

此外,据天眼查APP显示,北京云竹网络科技有限公司(曾用名:北京上市家科技孵化器有限公司)成立于2015年6月15日,实缴资本为3330万元,该公司北京九天云竹信息技术股份公司持股79.37%,成都上市吧信息技术股份有限公司持股20.63%。值得注意的是,2020年12月11日,该公司法人、执行董事、经理由罗明变为卢平仙。

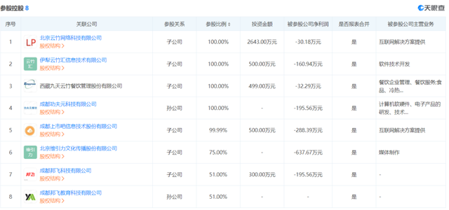
而其控股公司北京九天云竹信息技术股份公司属于新三板上市公司(云竹信息837939),据天眼查APP显示,其参股公司就包括北京维引力文化传播股份有限公司。
此外,社交财经注意到,有部分网友发起受害者维权流程并发布寻草记暴雷的时间线如下:
2021年1月30日前后,陆续出现提现困难。
2月1日,平台已经无法提现了。平台客服解释称受平台升级影响,提现会延迟到账,请等待几日。
2月3日,平台爆出内部员工上百万资金无法提现,部分员工寻找公司实际控制人讨要说法,但未出面解决此事。部分用户前往当地经侦大队报警,据了解,四川成都高新公安分局经侦大队已受理此事件,相关资料正在陆续收集中。
2月4日,用户陆陆续续了解平台无法提现,自建群聊开展维权,同时员工大量离职。
2月5日,有部分受害者前往北京维引力文化传播有限公司北京办公地点,成都办公地点,已人去楼空,当晚平台公告暂停运营,出台解决方案,即与请商城运营主体(北京维引力文化传播股份有限公司)确认债权债务关系。

截图来自:黑猫投诉
而据维权人透露,该解决方案并不合理,一是偿还债务时间遥遥无期,二是偿还比例有待调整。
对此,社交财经将继续关注寻草记商城暴雷后续维权情况。
今日新闻头条
我也说两句
已有评论 0 条 查看全部回复








